Voxer
Yaesu YA-30 Antena Dipolo Plegadas HF de Banda Ancha Precio + iva
Yaesu YA-30 Antena Dipolo Plegadas HF de Banda Ancha Precio + iva
No se pudo cargar la disponibilidad de retiro




Antenas dipolo plegadas HF de banda ancha Yaesu YA-30
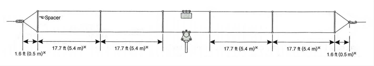
Las antenas dipolo plegadas de banda ancha HF Yaesu YA-30 son compactas. Las antenas dipolo plegadas YA-30 no solo cubren de 1,6 a 30 MHz, sino que también admiten una potencia de entrada de RF de 150 W PEP. Lo mejor de todo es que, como la mayoría de las antenas de banda ancha, no requieren sintonizador.
Estas antenas dipolo plegadas son multifilares, pero relativamente ligeras. Al tener solo dos hilos de acero inoxidable, presentan baja carga de viento y una ROE superior a 2:1 en el rango de 1,6 a 18 MHz, y de 3:1 por encima de 18 MHz.
Especificaciones de la Yaesu YA-30:
* Rango de frecuencia: 1,6-30 MHz
* Impedancia de entrada: 50 ohmios
* Entrada de potencia: 150 W PEP (voz) para 3-30 MHz
* Entrada de potencia: 75 W (AM, FM, datos, RTTY) TX cinco minutos máximo 20 por ciento ciclo de trabajo
* Conector de entrada: Toma tipo UHF
* Longitud de la antena: 83 pies
* Configuración de "V" invertida de 55 pies (con una torre de 35 pies)
Características especiales:
* No requiere sintonizador
* Varillas espaciadoras resistentes a los rayos UV
* Balun resistente a los rayos UV
* Cable de acero inoxidable
* Se suministra con 30 metros de cable coaxial





Share
